
合泰非標異型螺絲廠家通訊員消息,蘋果公司在中國專利局成功申請獲得一款緊固件產品的專利,該專利名稱為“隱藏式緊固系統(tǒng)”,專利號為“CN117145329A”。
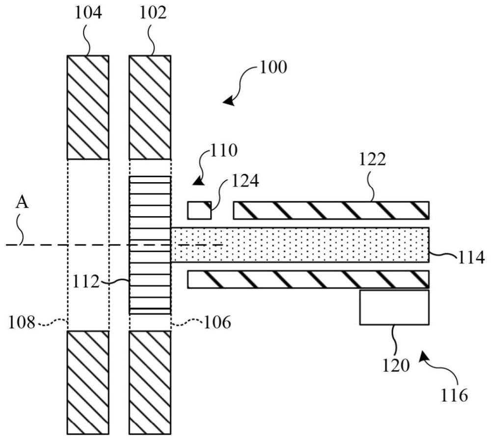
通信員從專利局網(wǎng)站查詢顯示,該專利涉及隱藏式緊固系統(tǒng)。一種用于將第一部件固定到第二部件的緊固件包括設置在緊固件主體的遠側端部處的緊固件頭部。該緊固件具有第一構型,在該第一構型中,該緊固件頭部嵌入在該第一部件的第一開口內。該緊固件具有第二構型,在該第二構型中,該緊固件主體延伸穿過該第一部件中的該第一開口并穿過該第二部件中的第二開口。在該第二構型中,該緊固件頭部的內表面與該第二部件的內表面接合以將該第二部件固定到該第一部件。










